1.受信機の無線LAN接続

担当:小田原

みはるぞうを無線LANに接続する話題です。

今回はアルファプロジェクトさんから発売されているEZL-80Cを使い、みはるぞうを無線LANから利用できるようにします。完成すると下のようになります。

miharuzo01.jpg

これによって、通常はPCに有線接続して利用するみはるぞうを、ワイヤレスで利用することが可能となり、設置の自由度が向上します。

1.導入

必要な物を次にあげます。

  • EZL-90(EZL-80Cとその評価キット)
  • みはるぞう拡張端子用ケーブル
  • RS-232Cコネクタ

まずはEZL-80Cを説明書にしたがってセットアップしてください。 変更する部分はIPアドレスとボーレートです。IPは普段利用している無線LANアクセスポイントのIP体系に合わせるよう設定してください。ボーレートはみはるぞうに合わせて9600bpsを設定してください。設定が完了して電源を入れると、EZL-90上でLINKのLEDが点灯します。

接続を確認したら動作を確認します。 まずは設定ツールを終了し、TeraTermを使ってEZL-90が接続されているシリアルポートに接続します(ボーレートは9600bps)。 次に、さきほど設定したIPに対して、TeraTermからTelnetしてみます。ポートが50000番なので注意してください。成功しましたか?

この段階でTeraTermが2枚起動していると思います。この2台は相互に通信することが可能です。どちらでもよいのでキーをタイプしてみると、もうひとつのTeraTerm上に文字が出ます。

これでEZL-80Cのセットアップは完了です。

2.みはるぞうと接続

それではみはるぞうと接続してみましょう(最初から小型化をお考えの方はこの章は飛ばしてください)。

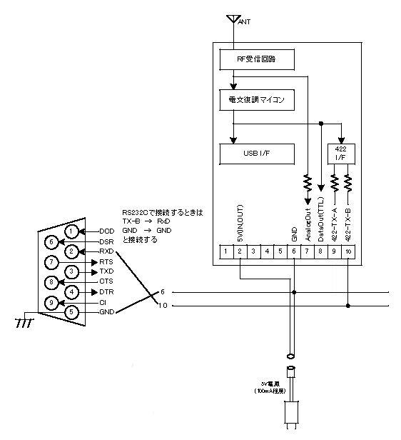
拡張端子用ケーブルとアダプタジャック、RS-232Cコネクタを次の図のようにつなぎます。

Connect01.gif

これでみはるぞう-EZL-90接続ケーブルが完成しました。これを接続した完成品は上の写真です。

両方の電源が落ちていることを確認し、それぞれにコネクタを差し込んでください(みはるぞうの電源はまだ接続しない)。次にEZL-90の電源を入れます。LINKを確認したら、TeraTermからTelnetしてください。

次にみはるぞう用5V電源のジャックにアダプタを差し込んでください。電源が入ると、次のようなブートメッセージが表示されます。

; TSR-V2 ver0.8
; (C)2004 SiliconLinux

この状態で、みはるぞう送信機から飛んでくる電文を見ることができます。下は例です。

$484100000005940094FFFFFFFFFFFFFF

電文の詳細はダウンロードにある、みはるぞうの技術仕様書をご覧ください。

リンク

続き